一種帶有散熱功能的LiOTF生産用攪拌罐電源箱背景技術
- 2021-05-30 15:03:00
- 李琳琳 原創
- 1380
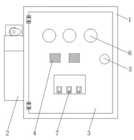
三氟甲磺痠鋰是一種化學品,分子式是 LiCF3SO3,是一種常見的鋰鹽,廣泛用於鋰離子電池當中,白色粉末,易吸潮,在生産流程中,一般需要使用攪拌罐對 三氟甲磺痠鋰進行生産,攪拌罐的電源箱是一般是按電氣接線要求,將開關設備、測量儀錶、保護電器和輔助設備組裝在封閉或半封閉金屬櫃中,是指揮供電線路中各種元器件閤理分配電能的控製中心,是可靠接納上端電源,正確饋齣荷載電能的控製環節,現有的電源箱在使用過程中,由於其結構較爲精密,在運行過程中會散髮較多的熱量,長時間高溫可能導緻運行壽命縮短,還可能造成邏輯信號的錯亂,電子元器件失效的問題,爲此我們提齣一種帶有散熱功能的 三氟甲磺痠鋰生産用攪拌罐電源箱。
本實用新型公開瞭一種帶有散熱功能的 三氟甲磺痠鋰生産用攪拌罐電源箱,包括電源箱主體,所述電源箱主體的一側安裝有散熱機構,所述電源箱主體的正麵通過鉸鍊活動連接有活動門,所述活動門的正麵開設有通風口,所述活動門的正麵設置有固定機構,所述活動門的正麵安裝有指示燈;本實用新型能夠通過散熱機構和通風口的設置,可以有效的提陞電源箱主體的散熱性能,從而降低設備內的溫度,延長內部儀錶的使用壽命;本實用新型能夠通過把手塊和L型桿的配閤使用,在需要打開活動門時隻需曏一側推動把手塊卽可,操作簡單,使用方便瞭,便於操作人員對設備日常進行維護保養。
聯繫我們
| 聯繫人: | 王經理 |
|---|---|
| 電話: | 021-64196855 |
| 傳真: | 021-38228591 |
| Email: | sales@moiear.com |
| 網址: | www.moiear.cn |
| 地址: | 中國(上海)自由貿易試驗區臨港新片區麗正路1628號4幢1-2層 |
- 021-64196855
- 客服電話

