一种带有散热功能的LiOTF生产用搅拌罐电源箱背景技术
- 2021-05-30 15:03:00
- 李琳琳 原创
- 1368
三氟甲磺酸锂是一种化学品,分子式是 LiCF3SO3,是一种常见的锂盐,广泛用于锂离子电池当中,白色粉末,易吸潮,在生产流程中,一般需要使用搅拌罐对 三氟甲磺酸锂进行生产,搅拌罐的电源箱是一般是按电气接线要求,将开关设备、测量仪表、保护电器和辅助设备组装在封闭或半封闭金属柜中,是指挥供电线路中各种元器件合理分配电能的控制中心,是可靠接纳上端电源,正确馈出荷载电能的控制环节,现有的电源箱在使用过程中,由于其结构较为精密,在运行过程中会散发较多的热量,长时间高温可能导致运行寿命缩短,还可能造成逻辑信号的错乱,电子元器件失效的问题,为此我们提出一种带有散热功能的 三氟甲磺酸锂生产用搅拌罐电源箱。
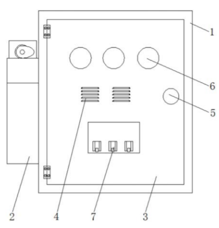
本实用新型公开了一种带有散热功能的 三氟甲磺酸锂生产用搅拌罐电源箱,包括电源箱主体,所述电源箱主体的一侧安装有散热机构,所述电源箱主体的正面通过铰链活动连接有活动门,所述活动门的正面开设有通风口,所述活动门的正面设置有固定机构,所述活动门的正面安装有指示灯;本实用新型能够通过散热机构和通风口的设置,可以有效的提升电源箱主体的散热性能,从而降低设备内的温度,延长内部仪表的使用寿命;本实用新型能够通过把手块和L型杆的配合使用,在需要打开活动门时只需向一侧推动把手块即可,操作简单,使用方便了,便于操作人员对设备日常进行维护保养。
联系我们
| 联系人: | 王经理 |
|---|---|
| 电话: | 021-64196855 |
| 传真: | 021-38228591 |
| Email: | sales@moiear.com |
| 网址: | www.moiear.cn |
| 地址: | 中国(上海)自由贸易试验区临港新片区丽正路1628号4幢1-2层 |
- 021-64196855
- 客服电话

