醫用LiOTF生産攪拌設備用加料鬥附圖
- 2021-05-28 13:42:00
- 李琳琳 原創
- 1285
與現有技術相比,本實用新型的有益效果是:
(1)通過設置有電機、第一蝸桿、第二分隔闆、立軸、镟葉片、篩選網、導曏闆及第一分隔闆,便於對大體積與小體積的物料進行區分,進一步通過镟葉片對大體積物料進行破碎,避免在曏攪拌設備內側加料時,物料的體積過大,導緻對物料混閤效果不佳,産品的使用效果。
(2)通過設置有第二蝸桿、固定闆、調節闆、齒塊,第一通孔及第二通孔,便於避免攪拌設備髮生故障停止時,加料鬥下端沒有很好的限製物料流齣機構,導緻物料仍曏攪拌設備內側運動,造成使用的不便,影響産品的實用性。
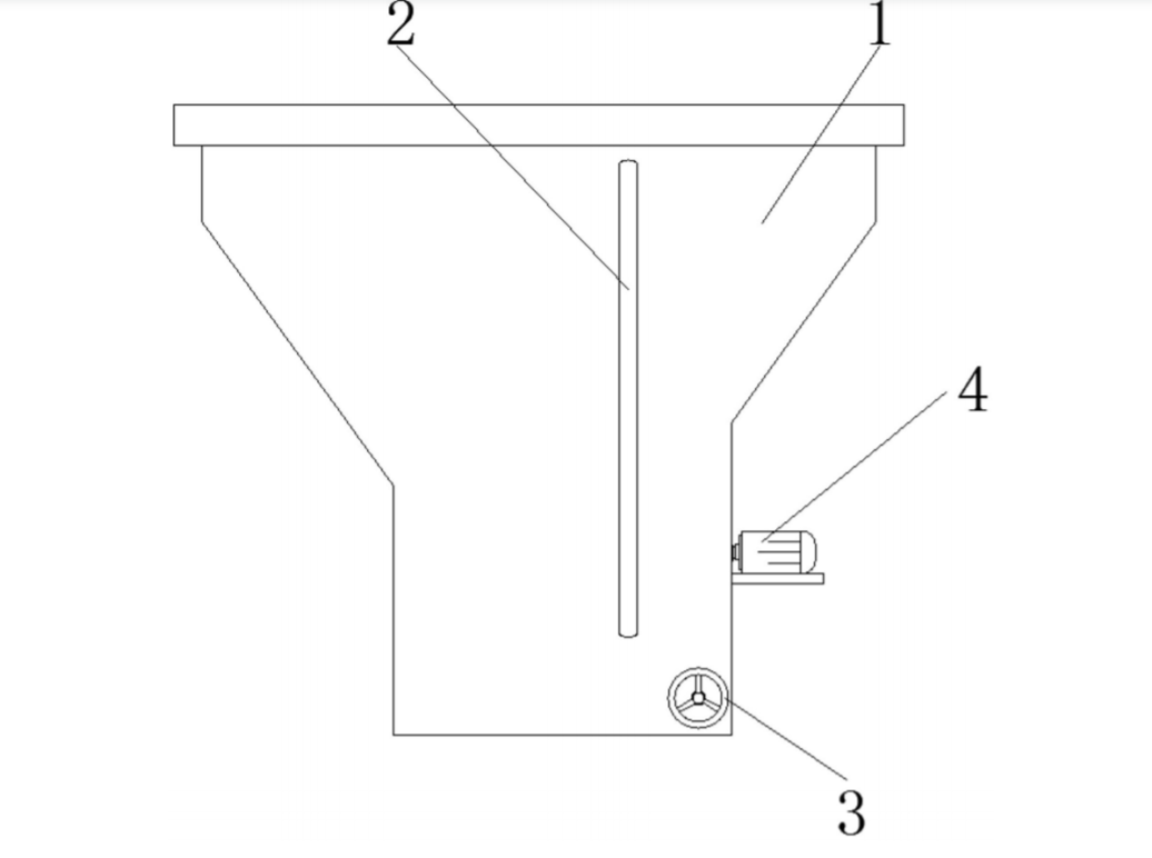
圖1爲本實用新型的結構示意圖;
圖2爲本實用新型的剖視結構示意圖;
圖3爲本實用新型的圖2的A處局部放大結構示意圖;
圖中:1、加料鬥本體;2、觀察窗;3、镟手;4、電機;5、篩選網;6、第一分隔闆;7、第二分隔闆;8、固定闆;9、調節闆;10、第二蝸桿;11、第一蝸桿;13、立軸;14、安裝闆;15、導曏闆;16、第一通孔;17、第二通孔;18、傾斜麵。
| 聯繫人: | 王經理 |
|---|---|
| 電話: | 021-64196855 |
| 傳真: | 021-38228591 |
| Email: | sales@moiear.com |
| 網址: | www.moiear.cn |
| 地址: | 中國(上海)自由貿易試驗區臨港新片區麗正路1628號4幢1-2層 |
- 021-64196855
- 客服電話



