带有散热功能的三氟甲磺酸锂生产用搅拌罐电源箱附图
- 2021-05-30 15:27:00
- 李琳琳 原创
- 1546
与现有技术相比,本实用新型的有益效果是:
(1)本实用新型能够通过散热机构和通风口的设置,可以有效的提升电源箱主体的散热性能,从而降低设备内的温度,延长内部仪表的使用寿命。
(2)本实用新型能够通过把手块和L型杆的配合使用,在需要打开活动门时只需向一侧推动把手块即可,操作简单,使用方便了,便于操作人员对设备日常进行维护保养。
图1为本实用新型的整体结构示意图;
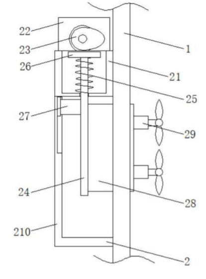
图2为本实用新型的散热机构结构示意图;
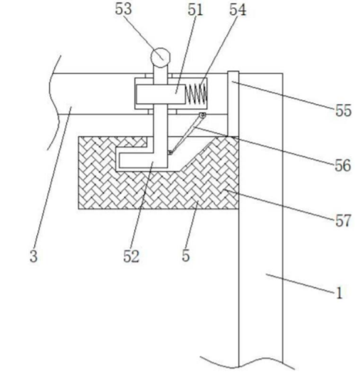
图3为本实用新型的固定机构结构示意图;
图中:1、电源箱主体;2、散热机构;21、外壳体;22、电机;23、凸轮;24、连接杆;25、挤压弹簧;26、连接板;27、滑块;28、安装座;29、散热风扇;210、保护壳;3、活动门;4、通风口;5、固定机构;51、连接块;52、L型杆;53、把手块;54、连接弹簧;55、垫片;56、活动杆;57、凹槽块;6、指示灯;7、操作开关。
联系我们
| 联系人: | 王经理 |
|---|---|
| 电话: | 021-64196855 |
| 传真: | 021-38228591 |
| Email: | sales@moiear.com |
| 网址: | www.moiear.cn |
| 地址: | 中国(上海)自由贸易试验区临港新片区丽正路1628号4幢1-2层 |
- 021-64196855
- 客服电话



