医用LiOTF生产搅拌设备用加料斗附图
- 2021-05-28 13:42:00
- 李琳琳 原创
- 1278
与现有技术相比,本实用新型的有益效果是:
(1)通过设置有电机、第一蜗杆、第二分隔板、立轴、旋叶片、筛选网、导向板及第一分隔板,便于对大体积与小体积的物料进行区分,进一步通过旋叶片对大体积物料进行破碎,避免在向搅拌设备内侧加料时,物料的体积过大,导致对物料混合效果不佳,产品的使用效果。
(2)通过设置有第二蜗杆、固定板、调节板、齿块,第一通孔及第二通孔,便于避免搅拌设备发生故障停止时,加料斗下端没有很好的限制物料流出机构,导致物料仍向搅拌设备内侧运动,造成使用的不便,影响产品的实用性。
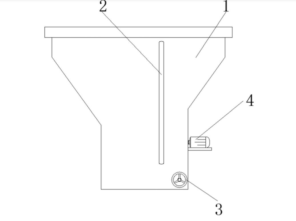
图1为本实用新型的结构示意图;
图2为本实用新型的剖视结构示意图;
图3为本实用新型的图2的A处局部放大结构示意图;
图中:1、加料斗本体;2、观察窗;3、旋手;4、电机;5、筛选网;6、第一分隔板;7、第二分隔板;8、固定板;9、调节板;10、第二蜗杆;11、第一蜗杆;13、立轴;14、安装板;15、导向板;16、第一通孔;17、第二通孔;18、倾斜面。
| 联系人: | 王经理 |
|---|---|
| 电话: | 021-64196855 |
| 传真: | 021-38228591 |
| Email: | sales@moiear.com |
| 网址: | www.moiear.cn |
| 地址: | 中国(上海)自由贸易试验区临港新片区丽正路1628号4幢1-2层 |
- 021-64196855
- 客服电话



